Post Reply 
 
Thread Rating:
  • 0 Vote(s) - 0 Average
  • 1
  • 2
  • 3
  • 4
  • 5
Why cheap shocks might be better
09-26-2013, 13:21 (This post was last modified: 09-26-2013 14:27 by davidbrady.)
Post: #1
Why cheap shocks might be better
There's an interesting graph in "The Shock Absorber Handbook", by Jason Dixon. I uploaded a copy to our Library at Document Library -> Theory.

Here's a snippet of the graph: İmage


Transmissibility is the degree to which road imperfections are transmitted thru the suspension to the body of the bus, the seats, and the occupants. It's a measure of how the suspension system reacts or overreacts to road input. If you bounce the suspension at it's natural frequency then the bus will theoretically bounce out of control (frequency ratio 1 on the chart). For our buses the natural frequency is around 1 Hz.

Looking at the graph you can see that there's a range of frequencies where shock absorbers actually make the ride worse. We'd be better off without them. The transition is where the graph transmissibility passes thru 1. This occurs at sqrt(2) times the resonant frequency of our suspension. For all road inputs above this frequency we'd be better off tossing our shocks!

This means for any road imperfection that comes at us faster than seven tenths of a second (1/(sqrt2*resFreq)) we'd have a better ride without dampers! So for every pothole, bridge abutment, railroad track out there, your ride would improve if you removed the shock.

So how do cheap shocks make the ride better? The road imperfections listed above are all low amplitude motions and there's a correlation between low amplitude road disturbances and frequency - low amplitude equals high frequency and we've already said that high frequency ride is better w/o shocks. Cheap shocks are only speed sensitive; they're not frequency sensitive, so you'd expect them to be worse on these types of road inputs. But wait - cheap shocks also come with cheap bushings. They're overly soft and overly compliant. This is the key to providing a good ride over choppy surfaces. The soft and compliant bushings deflect on the choppy surfaces and act closer to no shock at all! The cheap shock acts as a poor man's frequency sensitive damper.

Incidentally, the Koni Frequency Sensitive Damper (FSD) does just this. It has special valving that provides maximum damping for large amplitude road inputs and minimum damping for small amplitude road surfaces. This way slow resonant frequency road inputs won't bounce us out of control, while sharp and fast disturbances are minimally damped.

Koni offers FSD's for our wanderlodges but only for the drive and tag axle, so if you want a good ride on rough road, take your adjustable Koni steer axle shocks and back the stiffness off or put in some soft bushings. Air springs by nature have built in damping so there's little to lose and much to gain.

david brady,
'02 Wanderlodge LXi 'Smokey' (Sold),
'04 Prevost H3 Vantare 'SpongeBob'

"I don't like being wrong, but I really hate being right"
Find all posts by this user
Like Post Quote this message in a reply
[+] 1 user Likes davidbrady's post
09-26-2013, 14:23
Post: #2
RE: Why cheap shocks might be better
Thoughts on why Koni doesn't make an FSD for the fronts? You'd think it would be a no brainer.

John Mace
06 450LXi bigger bird
living in the wild hinterlands of the north
free to roam without the man getting me down
Find all posts by this user
Like Post Quote this message in a reply
[+] 1 user Likes Arcticdude's post
09-26-2013, 14:38
Post: #3
RE: Why cheap shocks might be better
Hey John,

Koni told me they couldn't make an FSD valve that would work in our Ridewell steer suspension because of the angle the shock is mounted. It's the motion ratio of shock movement to tire movement, or at least they weren't willing to devote R&D funds to it. I'm sure it could be done but not with the valve they have.

david brady,
'02 Wanderlodge LXi 'Smokey' (Sold),
'04 Prevost H3 Vantare 'SpongeBob'

"I don't like being wrong, but I really hate being right"
Find all posts by this user
Like Post Quote this message in a reply
09-26-2013, 15:37 (This post was last modified: 09-26-2013 15:37 by Arcticdude.)
Post: #4
RE: Why cheap shocks might be better
I hadn't paid much attention to the orientation differences from front to rear. Something ELSE to look at!

John Mace
06 450LXi bigger bird
living in the wild hinterlands of the north
free to roam without the man getting me down
Find all posts by this user
Like Post Quote this message in a reply
09-26-2013, 20:43 (This post was last modified: 09-26-2013 20:56 by travelite.)
Post: #5
RE: Why cheap shocks might be better
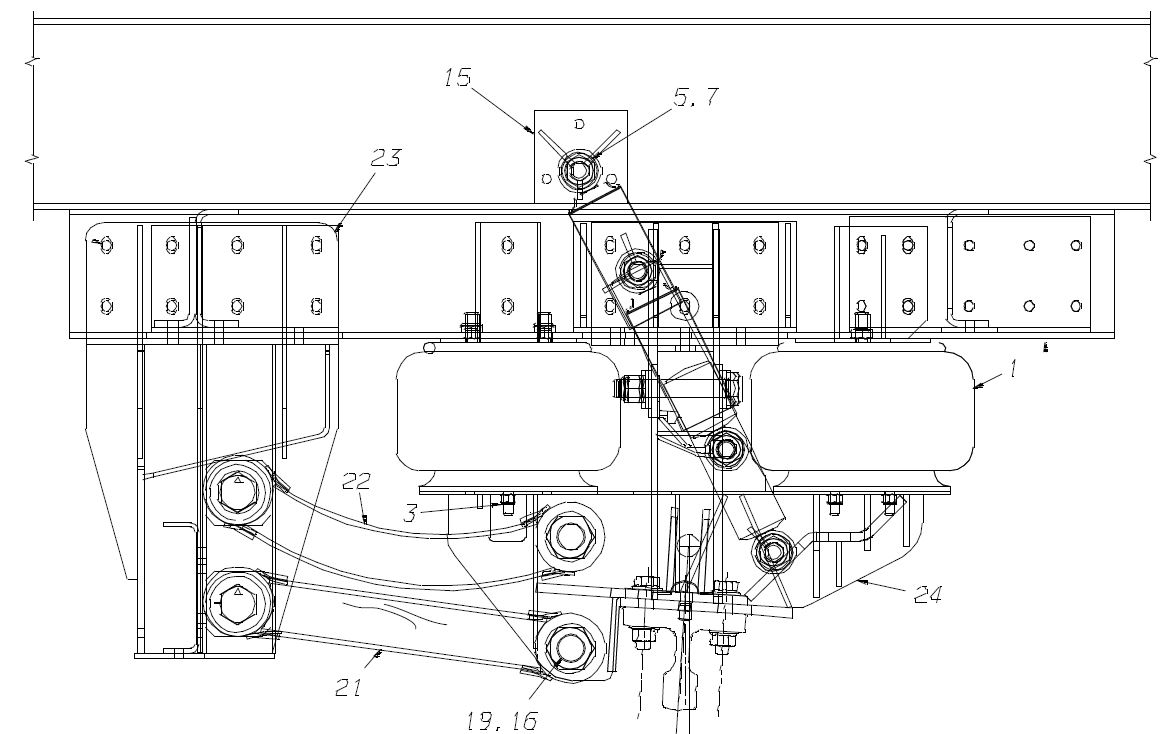
For my LXi:

It's a little difficult making out the drive axle shock; it's item number 60. The drive axle shock is on the inside of the frame rails. The steer and tag axle shocks are on the outside of the frame rails.
İmage
İmage

david brady,
'02 Wanderlodge LXi 'Smokey' (Sold),
'04 Prevost H3 Vantare 'SpongeBob'

"I don't like being wrong, but I really hate being right"
Find all posts by this user
Like Post Quote this message in a reply
[+] 2 users Like davidbrady's post
09-26-2013, 21:53 (This post was last modified: 09-26-2013 21:54 by hagcam.)
Post: #6
RE: Why cheap shocks might be better
David
I just changed the tag and drive shocks on Rob's 99 LXI, and they were both mounted inboard of the frame rails. The steers are outboard. I don't know if yours are the same.
I also changed the shocks on my 96 and they are all mounted outboard of the frame rails.

Peter Haggins
Courtenay BC
Canada
96 42'WB mid-door
"R"B&B
Find all posts by this user
Like Post Quote this message in a reply
09-26-2013, 23:18
Post: #7
RE: Why cheap shocks might be better
Hey Pete,

Hmmm, I wonder what tag axle Rob is running. Is it a steerable tag? Is his bus a 41' or a 43'?

It's sketchy but my records show:

41' ending with CSN 10000201, two suspension hangers, shocks mounted outboard on both the drive and the tag,
43' ending with CSN 10001469, two suspension hangers, shocks mounted outboard on both axles,
41' starting with CSN 10000202 ending with 10052120, single combined drive/tag hanger, shocks inboard on the drive and outboard on the tag,
43' starting with CSN 10001470 ending with 10052809, single combined drive/tag hanger with steerable tag, shocks inboard on drive and tag,
43' starting with CSN 10062750, single combined drive/tag hanger with fixed tag, shocks mounted inboard on drive and outboard on tag

It's very interesting. I haven't identified an LXi tag axle setup, other than the steerable tag, that has the shocks mounted inboard of the frame rails.

david brady,
'02 Wanderlodge LXi 'Smokey' (Sold),
'04 Prevost H3 Vantare 'SpongeBob'

"I don't like being wrong, but I really hate being right"
Find all posts by this user
Like Post Quote this message in a reply
09-27-2013, 00:12 (This post was last modified: 09-27-2013 00:14 by cmillsap.)
Post: #8
RE: Why cheap shocks might be better
(09-26-2013 23:18)davidbrady Wrote:  Hey Pete,

Hmmm, I wonder what tag axle Rob is running. Is it a steerable tag? Is his bus a 41' or a 43'?

It's sketchy but my records show:

41' ending with CSN 10000201, two suspension hangers, shocks mounted outboard on both the drive and the tag,
43' ending with CSN 10001469, two suspension hangers, shocks mounted outboard on both axles,
41' starting with CSN 10000202 ending with 10052120, single combined drive/tag hanger, shocks inboard on the drive and outboard on the tag,
43' starting with CSN 10001470 ending with 10052809, single combined drive/tag hanger with steerable tag, shocks inboard on drive and tag,
43' starting with CSN 10062750, single combined drive/tag hanger with fixed tag, shocks mounted inboard on drive and outboard on tag

It's very interesting. I haven't identified an LXi tag axle setup, other than the steerable tag, that has the shocks mounted inboard of the frame rails.
David,

Rob's bus has a steerable tag axle.

Chuck

(09-27-2013 00:12)cmillsap Wrote:  
(09-26-2013 23:18)davidbrady Wrote:  Hey Pete,

Hmmm, I wonder what tag axle Rob is running. Is it a steerable tag? Is his bus a 41' or a 43'?

It's sketchy but my records show:

41' ending with CSN 10000201, two suspension hangers, shocks mounted outboard on both the drive and the tag,
43' ending with CSN 10001469, two suspension hangers, shocks mounted outboard on both axles,
41' starting with CSN 10000202 ending with 10052120, single combined drive/tag hanger, shocks inboard on the drive and outboard on the tag,
43' starting with CSN 10001470 ending with 10052809, single combined drive/tag hanger with steerable tag, shocks inboard on drive and tag,
43' starting with CSN 10062750, single combined drive/tag hanger with fixed tag, shocks mounted inboard on drive and outboard on tag

It's very interesting. I haven't identified an LXi tag axle setup, other than the steerable tag, that has the shocks mounted inboard of the frame rails.
David,

Rob's bus has a steerable tag axle. 43'

Chuck

Chuck & Tela Millsap
2003 Prevost Marathon XLII
2000 LXi #2 S/S (Sold)
2004 M380 D/S (Sold)
2000 LXi #1 N/S (Sold
Find all posts by this user
Like Post Quote this message in a reply
09-27-2013, 09:41 (This post was last modified: 09-27-2013 09:47 by davidbrady.)
Post: #9
RE: Why cheap shocks might be better
(09-26-2013 15:37)Arcticdude Wrote:  I hadn't paid much attention to the orientation differences from front to rear. Something ELSE to look at!

John,

I bet we could mount a drive or tag axle Koni FSD shock to our steer axle. We have doubled up (stacked) c-channel frame rails above our axles. I don't see why an additional shock mount couldn't be mounted in a vertical position on our steer axles similar to how it was done on our drives. Once I get under the bus to check things out the reason for why it wasn't done might become crystal clear, but on paper (see above drawings) it looks feasible. That'd be a pretty slick upgrade!

You can see how my upper steer axle shock mount is simply bolted on:
İmage

david brady,
'02 Wanderlodge LXi 'Smokey' (Sold),
'04 Prevost H3 Vantare 'SpongeBob'

"I don't like being wrong, but I really hate being right"
Find all posts by this user
Like Post Quote this message in a reply
09-27-2013, 11:37
Post: #10
RE: Why cheap shocks might be better
Rob's is a steer tag, shocks mounted inboard. Randy changed his as well, he has a steer tag and they were also mounted inboard. So based on a sample of two coaches, I assume that the steer tag axles have their shocks mounted inboard.
I had incorrectly assumed that all lxi s were that way. Learned something new. Thanks.

Peter Haggins
Courtenay BC
Canada
96 42'WB mid-door
"R"B&B
Find all posts by this user
Like Post Quote this message in a reply
Post Reply 




User(s) browsing this thread: 1 Guest(s)